Кулинарные секреты
Копченая курочка, приготовленная собственноручно, – вполне достижимая цель. Ваши гости и домочадцы наверняка высоко оценят ваш труд, если для приготовления этого деликатеса вы воспользуетесь рецептами, собранными в данном материале, и советами опытных кулинаров.
- Для копчения можно использовать как крупные куриные тушки, так и тушки цыплят, но гурманы утверждают, что первые выходят более вкусными. Вы можете коптить их целиком или разделив на куски (грудки, крылышки, окорочка). Принципиального значения это не имеет и зависит исключительно от ваших гастрономических предпочтений. Намного важнее, чтобы куры были свежими.
- Если используете для копчения домашнюю птицу, выращенную на ферме, знайте, что перед копчением ее нужно ощипать, опалить и выпотрошить.
- Используя для копчения замороженную птицу, дайте ей оттаять в холодильнике. Если воспользоваться микроволновкой или погрузить курятину в горячую воду, она утратит часть влаги и после копчения выйдет сухой.
- Разделывать ли курицу на куски – дело ваше, но тщательно ее вымыть и обсушить салфетками требуется в любом случае. Только после этого ее можно мариновать сухим способом или в рассоле, жидком маринаде.
- Маринад для копчения курицы горячим и холодным способом можно использовать один и тот же, но для холодного копчения птицу нужно держать в маринаде в 2 раза дольше. Для экономии времени выбирают составы, содержащие уксус или другие кислоты, позволяющие размягчить мясные волокна значительно быстрее. Другой вариант – использовать горячий рассол или даже поварить курочку в нем 15-20 минут.
- Время вымачивания курицы в рассоле или маринаде зависит от его состава, размера тушек или кусков птицы, а также от выбранного способа копчения. Точные указания вы найдете в примечаниях к самим рецептам.
- Мариновать курицу можно в эмалированных или стеклянных емкостях. Если маринад не жидкий, то удобно использовать для этой цели плотный целлофановый пакет.
- Чтобы курица не испортилась, держите ее во время вымачивания в рассоле или маринования в прохладном месте. Лучше всего выделить ей место в холодильнике.
- Рассол для копчения курицы готовят из 20-30 г соли на 1 л воды, но иногда применяются немного другие пропорции. Также в рассол могут входить пряности, специи, сахар.
- Часто в рецепт маринада для копчения кур входят плоды можжевельника. Их можно приобрести в крупных супермаркетах, заказать через Интернет или купить в ближайшей аптеке. Последний вариант – самый экономичный.
- На 1 кг мяса курицы делают рассол из 1,5 л воды или из большего количества.
- Если применяется сухой способ маринования, то на 1 кг птицы используют 20 г соли, количество специй может быть любым – на вкус кулинара.
- Если нужно замариновать курицу очень быстро, ее шприцуют, то есть вводят рассол в мясо с помощью шприца, делая проколы на расстоянии 4 см. Горячим способом подготовленную таким способом курочку можно будет коптить уже через 1-2 часа, холодным – через 4-6 часов.
- Время копчения замаринованной курицы зависит преимущественно от ее размера. Крылышки, ножки и грудки горячим способом коптят 40 минут. Цыпленка весом до 1,2 кг достаточно коптить час или чуть дольше, 1,5-килограммовая тушка будет коптиться полтора часа. На курицу весом 1,8-2 кг потребуется 2 часа. Если птица весит более 2 кг, готовить ее в коптильне требуется 2,5-3 часа. Копчение холодным способом может занять сутки и даже несколько.
Ниже вы найдете 10 рецептов рассола и маринада для копчения курицы. Они универсальны, то есть подходят как для горячего, так и для холодного копчения, нужно лишь продержать птицу в составе нужное время.
Секреты домашнего копченияГруппа авторов, 2021
Разделка и посол мяса
Для правильного засола и последующего копчения немаловажное значение имеет правильное разделывание мясных туш.
Свинина
наиболее пригодна для соления, поскольку она достаточно жирная и не очень высыхает в процессе посола. Самое лучшее мясо можно получить от откормленной свиньи 7—8-месячного возраста.
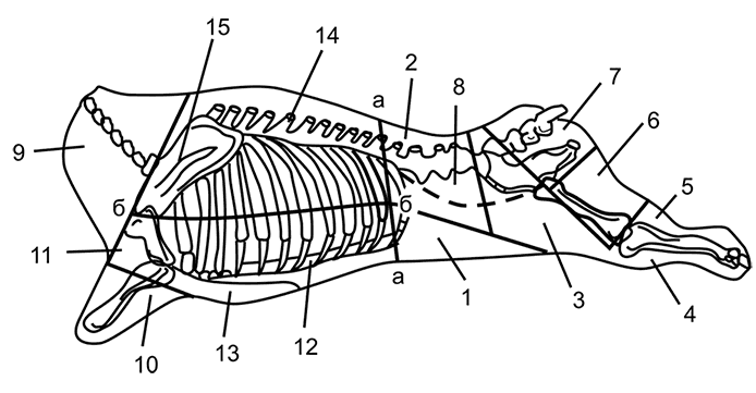
Свиные туши, имеющие значительные отложения жира (толщина шпика на хребте больше 5 см), обычно разделывают на шпик, а для посола и копчения используют окорока и лопатки. Таких свиней нужно разделывать согласно рис. 1 и 2.
Вначале полутушу следует разрубить поперек на три крупные части по линиям «а» и «б»: лопаточную, среднюю и заднюю (окорочную), а затем последовательно разделывать каждую из этих частей.
Рис. 1.
Схема разрубки свиной полутуши со значительным отложением сала: 1 — шпик; 2 — лопатка; 3 — окорок; 4 — пашина; 5 — щечки; 6 — сосковая часть; 7 — шейка; 8 — корейка; 9 — ребрышки; 10 — хвостовые позвонки
Разделка лопаточной части.
Ребра следует надрубить поперек по линии, указанной на рис. 1 пунктиром, затем отделить шейную часть и снять ножом ребра вместе с грудными позвонками, после чего отделить щечку. Лопатку нужно разрубить поперек, оставив 2/3 лопаточной части с ножкой, а 1/3 — с толстым слоем шпика (рис. 2). С куска снять мякоть с оставшейся частью лопаточной кости и хряща, а от лопатки отделить кусок шпика.
Рис. 2.
Части свиной полутуши при разделке на шпик: 1 — шпик; 2 — лопатка; 3 — окорок; 4 — пашина; 5 — щечки; 6 — сосковая часть; 7 — шейка; 8 — корейка; 9 — ребрышки; 10 — хвостовые позвонки, 11 — хрящ
При таком способе разделки лопаточной части можно получить менее жирную лопатку и большее количество шпика.
Разделка средней части.
Сначала следует разрубить эту часть поперек ребер на три примерно равные полосы (границы разруба указаны сплошными линиями на рис. 3). Верхнюю часть нужно разделить на корейку и шпик, затем с оставшихся частей снять ребра, а с низа грудинки отрезать сосковую часть.
Разделка окорочной части.
Следует разрубить тазовую кость (место разруба на рис. 3 показано линией «б»), затем снять вместе с мясом хвостовые позвонки, отделить окорок, шпик освободить от пашины.
Если необходимо получить нежирный окорок, то с его внутренней части нужно срезать жир и использовать его для приготовления смальца.
Если свиные туши менее жирные, их разрубают по рис. 3. Вначале нужно разрубить полутушу так, как описано выше (рис. 1), на три части: лопаточную, среднюю и заднюю (окорочную). Затем каждую отдельную часть следует разделать.
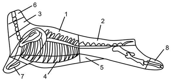
Рис. 3.
Схема разделки свиной полутуши с незначительным отложением жира для посола и копчения: 1 — окорок; 2 — корейка; 3, 4 — грудинка; 5 — сосковая часть; 6 — лопатка; 7 — ребрышки; 8 — щечки; 9, 11 — шпик; 10 — позвонки; 12 — шейка; 13 — хвост; 14 — задние ножки; 15 — передние ножки; 16 — пашина; 17 — прирезь мяса с оставшейся в ней частью лопаточной кости и хрящом; 18 — хвостовые позвонки с прирезями мяса
Разделка лопаточнойчасти.
Сначала нужно отрубить по суставу передние ножки, затем ребра, надрубая их в месте, указанном пунктиром «а». После этого следует отделить шейку с позвонками, шпик по пунктирной линии «б» и щечку. С куска шпика нужно снять прирезь мяса с оставшейся в ней частью лопаточной кости и хрящом — в результате получится лопатка.
Разделка средней части.
Вначале нужно разрубить среднюю часть туши на три примерно равные части: корейку и грудинку (границы указаны на схеме сплошными линиями). Далее от корейки отделить позвонки, а от грудинки — сосковую часть.
Разделкаокорочной части.
Сначала нужно отрубить заднюю ножку по скакательному суставу, отрезать хвост и с тазовой кости ссечь хвостовые позвонки вместе с прирезями мяса и жира; отрезав часть пашинки, придать окороку правильную форму. Для этого следует округлить окорок ножом (как указано пунктиром на схеме) со стороны открытых мышц, отделяя пашину и кусок шпика, и удалить окровавленные места. Менее жирный окорок можно получить, срезав сало с его внутренней части.
При такой разделке на копчение идут окорок, корейка, грудинка, лопатка; на посол — куски шпика. Пашину и сосковую часть можно использовать для выработки топленых жиров; ребрышки, хвостовые позвонки, шейку — для приготовления рагу и других кулинарных изделий; хвост и ножки — для студней.
Наиболее подходящими для посола считаются окорока с костью
, выдержанные на холоде не менее 24 ч, а лучше 2–3 суток после убоя животного.
Классическую посолочную смесь для свинины готовят из расчета: на 1 кг соли (помола № 1 или № 2) — 5 г аскорбиновой кислоты в порошке и 50 г сахара. Для аромата можно добавить измельченный чеснок, молотый душистый перец. Общий расход смеси — 1 стакан (вместимостью 250 см3) на 5 кг окорока.
Для сухого посола
окорока весом 16 кг приготовьте посолочную смесь: 1,5 кг соли, 10–15 г сахара, 10 г селитры, 1 ч. л. молотого черного перца, столько же измельченных сушеных ягод можжевельника, ½ ст. л. тертого мускатного ореха, 3–4 молотых бутона гвоздики, 4–5 измельченных лавровых листа, ½ ст. л. молотых семян кориандра, 1 ч. л. сушеного майорана. Сделайте внутренний надрез над коленным суставом (между костью и сухожилием) и заполните пространство возле костей посолочной смесью. Затем сделайте сквозной разрез на ширину ножа в нижней части ножки возле кости и также заполните его посолочной смесью. Окорок тщательно натрите посолочной смесью и положите кожей вниз в кадку (большую эмалированную кастрюлю), на дно которой предварительно насыпьте посолочную смесь. Сверху окорок также хорошо посыпьте оставшейся смесью. Больше всего смеси положите на головку бедренной кости. Посуду с окороком обвяжите сверху тканью и поставьте в прохладное место (2–7 °С). Под воздействием соли из мяса выделится сок и растворит соль, в результате чего образуется рассол. Чтобы мясо не поднималось вверх, положите на него тщательно вымытый деревянный круг и прижмите его грузом (чистым камнем). Обычно окорок просаливается в течение 4–5 недель в зависимости от его величины. Пару раз в неделю переворачивайте мясо и поливайте образовавшимся рассолом. Поскольку выделившегося рассола может оказаться недостаточно для того, чтобы покрыть все мясо, возможно, придется добавить отдельно приготовленный рассол. Для этого растворите 2,25 кг посолочной смеси в 10 л воды. Обязательно проследите, чтобы вся соль в рассоле растворилась. Наливайте рассол так, чтобы он покрыл и мясо, и круг. Если добавлять рассол не потребовалось, постоянно следите за его уровнем: обычно все же приходится доливать новый рассол через 8—10 суток после начала посола.
Если в посуде большого объема засаливается много окороков, то, для того чтобы они равномерно просаливались, в течение первых 6–8 суток 2–3 раза переместите верхние ряды окороков вниз, а нижние — наверх.
Готовый окорок выньте из рассола, оботрите чистой тряпкой, обваляйте в отрубях и подвесьте в прохладном месте на воздухе или в сухом холодном проветриваемом помещении на 2–3 дня для просушки. Обсохший окорок называется провесным; его можно употреблять в пищу, но только после варки. Однако чаще всего после просаливания обсушенные окорока коптят.
В теплую погоду для соления окороков применяют способ мокрого посола
(в рассоле). При этом получаются более сочные окорока, чем при сухом посоле. Сначала необходимо подготовить окорок: натрите его посолочной смесью для сухого посола и оставьте на сутки. Для приготовления пряного рассола в большой кастрюле вскипятите 10 л воды, добавьте 2 кг соли, 10 г аскорбиновой кислоты или 8 г селитры, 10 г сахара, перемешайте до полного растворения. Затем положите 2 ч. л. крупно измельченных пряностей (кориандр, лавровый лист, душистый и черный перец, гвоздику, ягоды можжевельника), дайте смеси покипеть еще 1–2 мин и снимите с огня. Когда рассол остынет, процедите его через плотную ткань или сложенную вчетверо марлю. Охладите процеженный рассол до 4–6 °С, залейте им окорок, сверху положите деревянный круг и придавите грузом. Ежедневно контролируйте процесс просаливания окорока. Обычно для готовности требуется 3–4 недели в зависимости от размера продукта. Когда окорок будет готов, выньте его из рассола, оботрите тряпкой и подсушите: подвесьте в прохладном месте на воздухе или в сухом холодном проветриваемом помещении на 2–3 дня.
В рассол можно добавлять не более чем 100 г сахара на 10 л воды.
Чтобы не процеживать весь рассол, можно заварить молотые пряности отдельно в небольшом количестве кипящей воды, настоять, процедить и добавить в уже готовый остывший рассол.
Окорока без кости
солят сухим или смешанным способами, предварительно разрезав на 2–3 куска вдоль мышц. Около мышечной ткани рекомендуется оставлять все сало с кожей или хотя бы его часть.
Для приготовления посолочной смеси без селитры на 16 кг окорока берут 1 кг соли (помола № 1 или № 2), 25 г аскорбиновой кислоты в порошке, 50 г сахара, кориандр, лавровый лист, перец, гвоздику, ягоды можжевельника по вкусу (можно обойтись вовсе без пряностей).
Для посолочной смеси с селитрой на 10 кг окорока берут 400–500 г соли (помола № 1 или № 2), 4 г селитры, 10 г сахара, пряности по желанию.
Для сухого посола
подготовленные куски мяса натрите половиной нормы посолочной смеси и плотно уложите их в эмалированную емкость, на дно которой предварительно насыпьте соль или ту же посолочную смесь. Через 2 дня куски мяса натрите оставшейся посолочной смесью и плотно уложите в посуду для засолки. Затем через каждые 2–3 дня переворачивайте мясо и поливайте его образующимся рассолом. Просаливается такое мясо в течение 10–12 дней. Просоленные куски туго заверните в брюшину или в марлю, зашейте, перевяжите шпагатом и положите под гнет. Когда лишний рассол стечет, подвесьте куски еще на 2–3 дня в прохладном помещении обсушиться.
Если выделившегося рассола будет недостаточно, чтобы покрыть куски мяса, приготовьте и добавьте новый рассол. Для этого через сутки после начала посола проверьте количество рассола. В случае необходимости влейте в емкость новый рассол, приготовленный из расчета: 2,25 кг посолочной смеси на 10 л воды. Обязательно проследите, чтобы вся соль в рассоле растворилась. Наливайте рассол так, чтобы он покрыл и мясо, и деревянный круг. В этом случае окорок просаливается в течение 6–7 дней.
Свиные лопатки
, толстую грудинку от свиней сальных пород, корейку и шейную часть , являющуюся как бы продолжением корейки (только шейная часть более плотная, так как мышечная ткань прорастает слоями сала), солят сухим способом или в рассоле, часто вместе с окороками. В этом случае к посолу их готовят так же, как и окорока. Но при посоле необходимо соблюдать определенный порядок их укладки в тару: на слой посолочной смеси вначале укладывают более толстые части (окорока, лопатки, толстую грудинку, шейку), на них — корейку, а сверху — тонкие куски грудинки. Порядок посола в остальном точно такой же, как описанный для окороков, но здесь очень важно следить за распределением посолочной смеси: окорока засыпают слоем смеси около 1 см, лопатки и прочие толстые куски — чуть меньше, корейку — еще меньше, грудинку лишь слегка посыпают смесью. Бочку с уложенной в нее свининой сверху обвязывают тканью для свободного доступа воздуха и помещают в прохладное место с температурой 2–7 °С на 2–3 недели. Нетолстая грудинка будет готова уже через 5–7 дней. Кстати, перед тем как уложить ее в посуду для посола, отделите от грудинки ребра, разрежьте ее вдоль на две части и только после этого натрите посолочной смесью. Когда грудинка просолится, выньте ее, очистите от соли, посыпьте молотым черным перцем, сложите вместе по два куска кожей наружу, заверните в марлю, перевяжите шпагатом и положите под гнет на 2 суток.
Корейка, как и грудинка, также просаливается в течение 5–7 суток. Более толстые части, такие как лопатки и шейка, просаливаются 2 недели, как и небольшие окорока. Ухаживать за мясом в процессе посола необходимо точно так же, как за окороками.
Более тонкую часть крупных свиней
солят вместе с корейкой. Корейку обычно солят отдельно, поскольку для ее посола требуется меньше соли. Ее можно солить сухим способом или в рассоле.
При сухом способе посола
на 10 кг мяса требуется 300–350 г посолочной смеси с пряностями. Охлажденную корейку натрите со всех сторон половиной нормы посолочной смеси, уложите в посуду. Через 2 дня натрите мясо оставшейся посолочной смесью и уложите в емкость для посола. Сверху положите деревянный круг, а на него поставьте гнет.
При мокром посоле
подготовленное мясо залейте охлажденным рассолом, приготовленным из расчета 700–800 г посолочной смеси на 5 л воды. Просаливаются корейка и шейка через 6–7 дней.
Просоленную корейку и шейную часть очистите, обсушите, дополнительно посыпьте молотыми пряностями (черным и душистым перцем, кориандром, гвоздикой, ягодами можжевельника), заверните в марлю, брюшину или обтяните обработанной толстой кишкой, перевяжите шпагатом и уложите под гнет на 2 дня.
Ухаживать за мясом после посола необходимо точно так же, как за окороками.
Можно посолить окорока и лопатки ускоренным приемом
— через кровеносную систему (если есть возможность проконтролировать разделку свиной туши или разделывать ее собственноручно). Рассол вводится в мясо с помощью медицинского шприца объемом 200–400 см3 непосредственно в кровеносные сосуды внутри окороков.
При использовании этого способа необходима особая осторожность при разделке свиных туш. Удаление кишок надо производить так, чтобы не повредить главную артерию с ее ответвлением в окорочные части. Для этого, отделяя прямую кишку, нужно подрезать артерию ножом ближе к ней, оставляя все пленки и жир в туше, что предохраняет артерию от повреждения. Затем перед разрубом туши на две части (полутуши) надо обнажить артерию, сняв с нее жир и пленки, и осторожно разрезать пополам вдоль. После отделения окороков каждый из них будет иметь артерию, подготовленную для посола шприцеванием. Отделение окороков также должно проводиться осторожно: надо аккуратно отрубить хвостовую часть, стараясь не разрезать мышцы (иначе в месте разреза будет просачиваться рассол) и не затронуть артерию, через которую должен вводиться рассол.
Пользуясь этим способом, ветчину можно приготовить в точном соответствии с желаемой степенью солености. Рассол для шприцевания готовят из такого расчета: на 10 л рассола для малосольной ветчины — 1,6 кг соли; для среднесоленой ветчины — 1,8 кг соли; для соленой ветчины — 2 кг соли. В рецептуру рассола кроме воды (10 л) и соли входят: 80 г селитры, 10 г аскорбиновой кислоты, 50 г сахара. Рассол готовьте обязательно на кипяченой воде. Хорошо охлажденный готовый рассол вводите шприцем в окорок из расчета 80 см3 на 1 кг окорока, вставив шприц в артерию и поддерживая его левой рукой, а правой приводите в движение его поршень. После введения рассола натрите окорока солью, уложите их в бочку и через сутки залейте рассолом, оставшимся от шприцевания окороков, чтобы они были полностью им покрыты. Таким же способом можно приготовить ветчину и из лопаток.
При введении рассола через кровеносную систему соль распределяется в окороке быстрее и равномернее.
Вкус и аромат продукта будут зависеть от созревания окорока в процессе посола. Окорок может быть готов уже через 3 суток, но лучшие качества он все-таки приобретет лишь после 2 недель выдержки.
Окорока, приготовленные ускоренным способом, коптить или хранить длительное время не рекомендуется. Лучше всего использовать их после посола в виде вареной ветчины. Отваривать такой окорок можно по желанию на 3—5-й день после посола, но лучше через 10–15 суток.
Посол говядины
является одним из самых простых, доступных и надежных способов сохранения мяса в домашних условиях в течение длительного времени. Кроме того, посол говядины необходим при изготовлении колбасных изделий и различных видов копченостей. От назначения говядины зависит и способ посола. Однако необходимо следить за тем, чтобы мясо равномерно просаливалось, поэтому большое значение имеет правильность надрубки костей, тщательная обработка надрезов в мышечной ткани мяса посолочной смесью и т. д.
Схема разрубки говяжьей полутуши представлена на рис. 4. Вначале следует разрубить полутушу пополам (по линии «а — а») — получатся задняя и передняя части, то есть четвертины. Затем нужно разрубить каждую из них по очереди.
Рис. 4.
Схема разрубки говяжьей полутуши: 1 — пашина; 2 — филейная часть; 3 — оковалок с щупом; 4 — голяшка; 5 — подбедерок; 6 — огузок; 7 — кострец; 8 — вырезка (обозначена пунктиром); 9 — шейная часть; 10 — рулька с голяшкой; 11 — лопатка; 12 — грудинка; 13 — челышко; 14 — толстый и тонкий край; 15 — подплечный край
Разрубка задней четвертины.
От четвертины следует отделить пашину, филейную часть, оковалок с щупом; отрубить голяшку и разделить оставшийся отруб на подбедерок, огузок и кострец. Из филейной части с внутренней стороны нужно отделить вырезку, прилегающую к позвоночнику (на рисунке это показано пунктирной линией).
Разрубка передней четвертины.
Отрубив шейную часть, рульку с голяшкой, нужно отделить ножом лопатку, оставшийся отруб разрубить поперек ребер (по линии «б — б»). Затем грудную часть следует разделить на два отруба: грудинку и челышко. Оставшуюся часть также надо разрубить на два отруба: толстый и тонкий края и подплечный край.
Для приготовления посолочной смеси на 1 кг мякоти говядины берут 75–85 г соли, 0,5–1 г аскорбиновой кислоты в порошке, измельченные пряности (18 горошин черного перца, 4–5 лавровых листа, 3 ягоды можжевельника).
Для просаливания крупных кусков на 10 кг мякоти говядины используют 1 кг соли, 3 г аскорбиновой кислоты в порошке и 15 г мелкокристаллического сахара.
Для посола лучше использовать свежую охлажденную мякоть говядины
, зачищенную от сухожилий. Куски мяса как можно тщательнее натрите посолочной смесью. Обращайте внимание на зарезы и карманы — тщательно натирайте их посолочной смесью. Расход посолочной смеси должен составить 1/10 от массы мяса. Сначала небольшое количество посолочной смеси насыпьте на дно посуды для посола, плотно уложите на нее натертые смесью куски мяса и посыпьте их сверху посолочной смесью. Затем уложите следующий слой мяса, снова посыпьте его смесью и так далее. Посыпав посолочной смесью верхний слой мяса, положите на него хорошо промытый ошпаренный деревянный круг, сверху установите легкий гнет и поставьте в прохладное место (погреб, подвал) с температурой 4–6 °С. Через 2–3 суток залейте мясо рассолом. Крепость рассола зависит от того, насколько длительно предполагается хранить солонину. Если солонина предназначена для продолжительного хранения, приготовьте более крепкий рассол: на 10 л воды — 2 кг соли, 25 г селитры (или 15 г аскорбиновой кислоты) и 100 г сахара. Для слабого посола количество соли уменьшите до 1,5 кг. После растворения компонентов рассола процедите его через сложенную в четыре слоя марлю и охладите до температуры 2–4 °С. Охлажденным рассолом залейте мясо так, чтобы оно было полностью им покрыто. На мясо положите деревянный круг и тяжелый гнет и поставьте в помещение с температурой 0–3 °С. Процесс просаливания мяса длится 25–30 суток. За это время надо несколько раз переместить верхние куски мяса вниз, а нижние — наверх. Постоянно следите за уровнем рассола, контролируйте качество и степень просола мяса.
Этот вид солонины можно использовать для приготовления колбас, в качестве добавки к свежему мясу, а также для приготовления отдельных мясных блюд.
В посолочную смесь для говядины рекомендуется добавлять пряности еще и для того, чтобы солонина получилась более нежной.
Если солите мясо в бочке или бочонке, следите за тем, чтобы тара была целой: при вытекании рассола через щели засоленное мясо очень быстро портится.
Для получения деликатесной солонины
используйте спинную часть туши (толстый и тонкий края) и грудинку. Сначала осторожно отделите мякоть от костей и охладите ее. Затем охлажденную мякоть натрите посолочной смесью из расчета 1 стакан смеси (вместимостью 250 см3) на 5 кг мяса. Чтобы приготовить стакан посолочной смеси, смешайте 175 г соли, 2 г аскорбиновой кислоты в порошке и 65 г мелкокристаллического сахара. Можно добавить несколько измельченных лавровых листьев и немного молотого черного перца и гвоздики. Натертые смесью тонкие куски говядины сверните в рулеты и обвяжите шпагатом, а затем уложите их слоями (не более 3–4 слоев) в посуду, на дно которой предварительно насыпьте посолочную смесь и пряности. Накройте последний слой мяса хорошо промытым и ошпаренным деревянным кругом, сверху на него поставьте легкий гнет. В таком виде выдерживайте мясо в помещении при температуре 1–3 °С в течение 2 недель, после чего деликатесная солонина будет готова к использованию.
Перед приготовлением каких-либо блюд солонину следует вымочить. Крупные куски перед вымачиванием разрезают на 2–4 части. Затем заливают солонину холодной водой (2 л на 1 кг солонины) и вымачивают в течение 24 часов, меняя воду 5 раз: первый раз — через 1 ч после замачивания, а затем с промежутками в 2, 3, 6 и 12 ч. Температура воды для вымачивания не должна превышать 15 °С. Содержание соли при этом удается снизить до 2 %. Деликатесную солонину вымачивают не так долго — от 18 до 20 ч. Мелкие куски солонины (50–60 г) можно не вымачивать, а сразу варить в пятикратном объеме воды.
Для засолки крупных кусков мяса на костях
в большой таре, например в бочке, необходимо разрубить говяжьи полутуши на крупные части: лопатку, грудинку и т. д. При посоле в более мелкой таре разрубите отрубы еще на 3–4 части. Перед посолом кости следует надрубить: реберные и трубчатые — поперек, позвонковые — косыми надрубами по позвонкам, а кости суставов — крест-накрест. В толстых мышцах (задние конечности, лопатка, бедро) сделайте ножом 2–3 надреза (кармана) глубиной до 10 см и длиной около 5 см. Дальнейший процесс обработки мяса — такой же, как и при приготовлении мякотной солонины. Старайтесь тщательно обрабатывать места надрубов и разрубки костей, как можно больше и плотнее заполняя их посолочной смесью. Натертые смесью куски мяса укладывайте в тару костями вверх. Продолжительность посола солонины на костях составляет 40–45 суток.
Для приготовления рулетов
берите куски мяса, отделенные от костей. Разрежьте их на пласты и натрите посолочной смесью (на 1 кг мякоти мяса: 75–85 г соли, 0,5–1 г аскорбиновой кислоты в порошке, измельченные пряности — 18 горошин черного перца, 4–5 лавровых листьев, 3 ягоды можжевельника). Для просаливания более крупных кусков на 10 кг мякоти мяса берут 1 кг соли, 3 г аскорбиновой кислоты в порошке и 15 г мелкокристаллического сахара. Натертые пласты сверните в рулеты и перевяжите шпагатом, накладывая витки на расстоянии примерно 10 см друг от друга. Затем переверните рулеты другим концом к себе и вновь перевяжите шпагатом, накладывая витки в промежутках уже сделанных. Перевязанные рулеты натрите солью, плотно уложите их в бочку, на дно которой предварительно насыпьте соль. Верхний слой мяса посыпьте посолочной смесью, положите на него хорошо промытый ошпаренный деревянный круг, сверху придавите легким гнетом и поставьте в холодное место (погреб, подвал) с температурой 4–6 °С. Через 2–3 суток залейте мясо рассолом. Крепость рассола зависит от того, насколько долго предполагается хранить солонину. Если солонина предназначена для продолжительного хранения, приготовьте более крепкий рассол: на 10 л воды — 2 кг соли, 25 г селитры (или 15 г аскорбиновой кислоты) и 100 г сахара. Для слабого посола количество соли уменьшите до 1,5 кг. После растворения компонентов рассола процедите его через сложенную в четыре слоя марлю и охладите до температуры 2–4 °С. Охлажденным рассолом залейте мясо так, чтобы оно было полностью им покрыто. На мясо положите круг и тяжелый гнет и храните в помещении при температуре 0–3 °С. Процесс просаливания мяса длится 25–30 суток. За это время надо несколько раз переместить верхние куски мяса вниз, а нижние — наверх. Постоянно следите за уровнем рассола, контролируйте качество и степень просола мяса.
Рулеты можно солить как отдельно, так и вместе с мясом, предназначенным для приготовления солонины.
Баранину для посола
разделывают, руководствуясь схемой разрубки, показанной на рис. 5.
Баранину засаливают по рецептам посола свинины и говядины.
Рис. 5.
Схема разрубки бараньей полутуши для посола: 1 — спинно-лопаточная часть; 2 — задняя часть; 3 — шея; 4 — грудинка; 5 — пашина; 6 — зарез; 7 — рулька; 8 — задняя голяшка
Все языки
(как говяжьи, так и свиные или бараньи) солят без горловины.
Для приготовления рассола на 5 л воды берут 900 г соли, 17 г селитры или 5 г аскорбиновой кислоты в порошке, 25 г сахара, немного гвоздики, черного перца и лаврового листа. Говяжьи языки примерно одинакового веса тщательно очистите от остатков слизи и крови и хорошенько промойте. Затем каждый язык в толстой его части проколите деревянной иглой в двух-трех местах — это нужно для быстрого и равномерного просаливания. Уложите языки в подготовленную посуду и залейте охлажденным кипяченым рассолом из расчета 1 л рассола на 1 кг языков. Накройте посуду крышкой и поставьте в прохладное помещение с температурой не выше 5 °С. Через 2–3 дня рассол слейте, языки переложите в другую тару и залейте свежим рассолом в той же пропорции. Процесс просаливания языков длится от 10 до 12 суток в зависимости от веса.
Самый простой маринад для курицы
Что нужно (на 1 кг):
- крупная соль – 20 г;
- черный молотый перец или приправа для курицы – 10-20 г;
- лавровый лист (не обязательно) – 1-2 шт.;
- сушеный чеснок (не обязательно) – 5 г.
Как приготовить:
- Лавровый лист потолките и измельчите с помощью мельницы для перца или кофемолки.
- Соль смешайте со специями, в том числе с измельченным лавровым листом, сушеным чесноком.
- Помойте, обсушите куриную тушку или куски птицы: грудку, крылья, окорочка.
- Натрите курятину подготовленной сухой смесью и уберите в пакет.
Для холодного копчения в сухом маринаде курицу нужно держать не менее 2 суток, для горячего – сутки. Если будете коптить птицу кусочками, время маринования можно сократить в 2 раза.
Выбор и подготовка мяса

После покупки подходящего мяса для копчения в домашних условиях, необходимо правильно его подготовить. Не стоит ни в коем случае пропускать этот этап, ведь это может отрицательно сказаться на вкусе готовых копченостей. Если выбранных кусках мяса присутствует шкурка, то она тщательно очищается, а ворсинки поджигаются. Сама продукция максимально тщательно промывается.
При этом размер каждого кусочка должен быть не менее ладони. После этого можно заняться посолом мяса для копчения в домашних условиях или же приготовить специальный маринад, который сделает вкус деликатеса еще более оригинальным и пикантным.
Сухой посол
Несмотря на то, что данный вариант считается наиболее простым, в то же время он позволяет добиться отличного результата. Сухой посол можно использовать для любого сорта мяска и соль при этом будет хорошо проникать в волокна. Для данного метода посола стоит предварительно подготовить достаточное количество соли, а также подобрать емкость, которая не будет окисляться во время процесса маринования.
Дополнительно можно использовать небольшое количество черного молотого перца. Его стоит смешать с солью и обильно посыпать полученной смесью каждый кусок мяса. Дальше мясо необходимо выложить в подготовленную емкость. За счет использования дополнительного груза, продукция пропитается солью лучше и быстрее, ведь из волокон будет постепенно выходить влага.
Когда сырье достаточно хорошо замаринуется, его можно некоторое время подержать в прохладной воде, чтобы вымылась лишняя соль. Затем каждый кусочек подвешивается на сквозняке или на свежем воздухе, чтобы подсохнуть. Достаточно несколько часов проветривать мясо и затем можно приступать к его копчению в домашних условиях.
Маринование
Мясо, которое подготавливалось с помощью маринада, будет иметь несколько иной вкус, чем засоленная продукция. Готовые копчености станут рыхлыми, а вкус будет немного пряным. Самый простой рецепт маринада – это вода смешанная с солью в пропорциях 15:1. Также можно добавить небольшое количество черного молотого перца или любые другие любимые специи, травы и пряности.
Длительность маринования будет зависеть от сорта мяса, а также от того, каким именно способом будет коптиться продукция. В том случае, если мясо будет коптиться холодным способом, то длительность маринования, точно так, как и засолки, стоит увеличить.
Самый простой рецепт рассола для замачивания кур перед копчением
Что нужно (на 1,5-2 кг):
- вода – 3 л;
- соль – 90 г;
- листья лавра – 6 шт.;
- гвоздика – 6 шт.;
- душистый перец горошком – 9 шт.
Как приготовить:
- Вскипятите воду, растворите в ней соль.
- Добавьте специи, прокипятите рассол в течение 5 минут.
- Когда рассол остынет, процедите его и погрузите в него курицу.
Целую тушку для горячего копчения маринуйте от 24 до 48 часов, для холодного копчения – от 48 до 72 часов. Грудку и окорочка мариновать следует в 2 раза меньше, время замачивания перед копчением куриных крылышек можно сократить еще сильнее (до 6-8 часов для горячего копчения, до 12-18 часов – для холодного).
Классический рецепт маринада для копчения кур с уксусом
Что нужно (на 1 курицу):
- вода – 3-4 л;
- соль – 20 г на 1 л;
- сахар – 5 г на 1 л;
- столовый уксус (9-процентный) – 20 мл на 1 л;
- чеснок – 2-3 зубчика;
- лавровый лист – 2-3 шт.;
- молотый имбирь – 5 г;
- палочка корицы – 1 шт.
Как приготовить:
- Подготовьте тушку, вымыв и обсушив.
- Вскипятите воду, растворите в ней сахар с солью.
- Добавьте специи и уксус, прокипятите 2-3 минуты, снимите с огня.
- Дайте маринаду остыть. Когда он станет комнатной температуры или чуть теплее, процедите его и залейте им подготовленную птицу.
Маринуйте курицу от 24 до 72 часов в зависимости от размера тушки и выбранного способа ее копчения. Если планируете коптить грудку, крылышки или окорочка, время маринования сократите в 2 раза.
Технология копчения
Есть несколько разных вариантов приготовления мяса в домашних условиях. Каждый из них обладает своими преимуществами и недостатками, поэтому их обязательно стоит учитывать. Каждый человек сможет подобрать таким образом наиболее подходящий вариант копчения, который позволит получить максимально вкусные и ароматные копчености.
Холодным способом
Холодное копчение в домашних условиях отнимает достаточно много времени из-за того, что обработка продукции происходит при весьма низких температурах достигающих 25-30 градусов. Стоит подготовиться к тому, что первые часов 8 нельзя прерывать процесс копчения. В противном случае будущие деликатесы могут испортиться из-за того, что в них начнут активно развиваться бактерии, для которых были созданы все необходимые условия.
Точное время приготовления копченостей будет зависеть от способа, а также от длительности маринования. К примеру, предварительно проваренное мясо можно приготовить всего за несколько часов. Если для подготовки сырья использовался сухой посол, то коптить продукты нужно на протяжении нескольких суток.
Продукция холодного копчения считается более ценой, ведь мясо сохраняет свой натуральный вкус и запах, а также все полезные свойства, имеет более долгий срок хранения. Стоит отметить, что для приготовления могут использоваться как покупные коптильни, так и самодельные.
Горячим способом
За счет того, что мясо горячего копчения готовится при температуре 110-130 градусов и частично еще и запекается, то на копчение уходит всего пара часов. На дно коптильного шкафа насыпается немного щепы, дальше устанавливается поддон для сбора жира. На решетку выкладываются кусочки подготовленного мяса. Коптильня плотно закрывается и устанавливается на источник огня.
Для приготовления продукции горячего копчения понадобится максимум два часа, в зависимости от размеров кусков сырья и сорта. За все время копчения нужно будет открыть несколько раз крышку коптильни, чтобы выпустить лишний дым. В противном случае готовые копчености могут получиться немного горьковатыми.
Для проверки готовности копченостей необходимо сделать надрез. Мясо должно иметь темный цвет и не содержать крови, а с места среза будет вытекать прозрачная жидкость. Не стоит сразу же доставать копчености. Лучше подождать до тех пор, пока коптильня остынет вместе с содержимым.
В электрической духовке
Даже если в наличии нет коптильни, то можно воспользоваться обычной электрической духовкой. В таком случае на низ духовки насыпается небольшое количество щепы, дальше устанавливается поддон для сбора жира и на верхнюю решетку выкладывается подготовленное мясо. Устанавливается необходимая температура и запускается режим копчения. Для того, чтобы сократить время приготовления, предварительно мясо стоит немного проварить на маленьком огне.
Имитация копчения
Не у каждого человека есть возможность приобрести профессиональную коптильню или же изготовить ее своими руками. Но если все же хочется приготовить в домашних условиях копчености, то можно воспользоваться специальным экстрактом древесного дыма, который продается во многих магазинах.
В данном случае сырье маринуется точно таким же образом, в воде с солью и специями. Особенностью будет только то, что добавлять нужно соль по вкусу.
Стоит отметить, что в составе жидкого дыма присутствует достаточно большое содержание соли, поэтому маринад для варки мяса нельзя делать слишком соленым.
Также можно мясо не варить, а предварительно посолив и добавив специи, запечь в духовке. Когда «копчености» будут практически готовыми, они обильно сбрызгиваются жидким дымом.
Классический маринад для копчения курицы с лимоном и можжевельником
Что нужно (на курицу весом около 1,5 кг):
- вода – 3 л;
- сахар – 20 г;
- соль – 60 г;
- лимон – 1 шт.;
- чеснок – 3 зубчика;
- лавровый лист – 3 шт.;
- ягоды можжевельника – 6 шт.;
- веточки розмарина – 2 шт.;
- сушеный имбирь, молотые корица, кориандр, черный перец – по 5 г.
Как приготовить:
- Воду смешайте с солью и сахаром, доведите до кипения.
- Добавьте все остальные ингредиенты, кроме лимона. Прокипятите 10 минут.
- Добавьте нарезанный кружками лимон, снимите емкость с маринадом с огня. Пусть он остынет.
- Положите в маринад курицу, уберите в холодильник. Чтобы тушка не всплывала, можно накрыть ее тарелкой, сверху поставить груз (к примеру, банку с водой).
Через 2-3 дня курочку можно будет коптить горячим способом, через 4 дня – холодным.
Выбор щепы
Сегодня в продаже можно найти щепу самых разных деревьев. Как правило, самой лучшей считается щепа лиственных или фруктовых пород древесины. Для того, чтобы получить более оригинальный и насыщенный вкус готовых копченостей, разные виды опилок можно смешивать между собой. Добавить пикантную нотку копченостям можно с помощью веточек можжевельника вместе с ягодами, листьев смородины, вишни, винограда.
Не стоит использовать щепу хвойных деревьев или березу вместе с корой. Они содержат очень много смолы, которая будет отрицательно сказываться не только на вкусе и аромате копченостей, но и на их внешнем виде.
Эффективный способ замариновать курицу для копчения
Что нужно (на 1,5-2 кг):
- соль – 60 г;
- вода – 3 л;
- черный молотый перец – по вкусу;
- чеснок – 50 г;
- ягоды можжевельника – 5 г;
- сахар – 20 г;
- аскорбиновая кислота – 20 г
- рафинированное растительное масло – 40 мл.
Как приготовить:
- Чеснок раздавите прессом, смешайте со столовой ложкой соли (с горкой) и перцем. Добавьте масло, перемешайте.
- Натрите курицу чесночной пастой и положите в пакет. Уберите в холодильник на 1-2 дня (в зависимости от способа копчения).
- Потолките аскорбиновую кислоту, смешайте с сахаром.
- Вскипятите воду, бросьте в нее ягоды можжевельника, добавьте смесь аскорбинки с сахаром, всыпьте оставшуюся соль. Прокипятите пару минут.
- Выньте курицу из пакета, переложите в жидкий маринад и оставьте в нем на день или два (для холодного копчения птицу маринуют дольше).
Двухэтапный процесс маринования может показаться сложным, но результат оправдает потраченные усилия.
Хранение и калорийность продуктов
Калорийность копченого мяса будет зависеть от способа приготовления, а также от сорта сырья. Приготовить можно как диетическое, так и более жирное мясо. В данном случае каждый человек должен исходить со своих предпочтений. Конечно, слишком жирной продукции употреблять много нельзя, поэтому предпочтение лучше отдать нежирным сортам.
Если говорить о хранении, то мясо холодного копчения может храниться в холодильнике на протяжении двух-трех недель. Продукция горячего копчения хранится всего лишь несколько дней. Также можно немного увеличить срок годности деликатесов и заморозить их. В таких ситуациях в дальнейшем размораживать стоит только то количество копченостей, которые будут употреблены за один раз. В противном случае они очень быстро испортятся.
Копченое в домашних условиях мясо – это настоящий деликатес. Продукция холодного копчения сохранит в себе все витамины и полезные вещества, поэтому предпочтение лучше отдать такому способу приготовления. Сегодня существует огромное количество рецептов приготовления разных сортов мяса, поэтому без проблем можно выбрать наиболее подходящий вариант с учетом своих вкусовых предпочтений.
Быстрый способ маринования курицы для копчения
Что нужно (на 1 курицу):
- вода – 4 л;
- соль – 80 г;
- тмин – 5 г;
- лавровый лист – 3 шт.;
- укроп, петрушка – по 2 веточки.
Как приготовить:
- Вскипятив воду, растворите в ней соль, добавьте специи.
- Когда рассол вновь закипит, опустите в него куриную тушку и поварите ее 20 минут.
Извлеките курицу из бульона, немного остудите и обсушите полотенцем. После этого можете отправлять ее в коптильню и готовить любым способом (хоть горячим, хоть холодным).
Рыбы
- Пряный рассол для копчения рыбы в домашних условиях из красного вина и гвоздики . Нам нужно: полтора литра воды, три столовых ложки соли, душистый перец, гвоздика, сухое красное вино и тмин (по вкусу). В кипящую воду добавляем гвоздику, тмин и перец, варим 5 минут, затем охлаждаем жидкость и процеживаем. В охлажденный рассол добавляем остальные ингредиенты и размешиваем до растворения. В эту смесь погружается рыба на 4 часа. После этого можно коптить. В результате Вы получите нежнейшие копчености с интересным вкусом, которым Вы сможете удивить гостей и домочадцев.
- Рассол для домашнего копчения скумбрии я уже описывал тут , как и все тонкости ее приготовления.
- Рассол для смешанного посола рыбы . Поскольку сырая рыба таит в себе много опасных веществ и организмов (гельминты, вредоносные бактерии), лучше подстраховаться и приготовить ее в два этапа. Один этап — посол, когда тушки щедро натираются солью и стоят неделю под прессом (сок рекомендуется вычерпывать). Для мелкой жертвы хватит 2-6 часов, для крупной — 8-14. Второй этап — приготовление рассола для домашнего копчения. На литр охлажденной кипяченой воды приходится 10 грамм сахара и 100 грамм сухих приправ для рыбы. В этой жидкости рыбка томится неделю, и только после этого удостаивается копчения.
Как мариновать курицу для копчения в кефире
Что нужно (на 1 кг):
- кефир – 0,4-0,5 л;
- рафинированное растительное масло – 80 мл;
- листья мяты – 20 шт.;
- чеснок – 2 зубчика;
- соль – 5 г;
- сахар – 5 г;
- черный молотый перец – 5 г.
Как приготовить:
- Курицу разрежьте на порционные куски.
- Масло влейте в чашку, добавьте в него пропущенный через пресс чеснок, соль, сахар и перец.
- Обмажьте маслом куски курицы, сложите в миску.
- Раскидайте сверху листики мяты. Залейте кефиром.
- Уберите миску с курицей в холодильник.
Горячим способом замаринованную в кефире курочку можно коптить уже через 8 часов. Для холодного копчения куски курицы маринуют сутки. Перед копчением обязательно удалите листики мяты, чтобы они не начали гореть.
Томатно-горчичный маринад для копчения курицы
Что нужно (на 1 кг):
- мед, рафинированное растительное масло, кетчуп, столовая горчица – по 40 мл;
- соль, паприка, гранулированный сушеный чеснок – по вкусу;
- помидоры – 0,5 кг;
- белое сухое вино – 100 мл.
Как приготовить:
- Помидоры надрежьте крест-накрест, ошпарьте их кипятком, очистите от кожицы.
- Нарежьте томаты кусками, положите в кувшин блендера и превратите в пюре.
- Добавьте остальные компоненты, взбейте.
- Перелейте маринад в миску, положите в него куриные куски. Перемешайте руками, чтобы соус покрыл все куски равномерно.
- Обтяните миску пищевой пленкой, поставьте в холодильник.
Маринуйте курицу в томатном соусе от 8 до 24 в зависимости от способа ее копчения. Этот маринад также можно использовать для жарки курицы на мангале.
Лимонно-медовый маринад для копчения курицы
Что нужно (на 1 кг):
- мед – 60 мл;
- рафинированное растительное масло – 60 мл;
- лимон – 1 шт.;
- чеснок – 2 зубчика;
- смесь перцев – 20 г;
- соль – 20 г.
Как приготовить:
- Мед разотрите с солью, пока он не станет жидким. Смешайте его с маслом и соком, выжатым из лимона.
- Добавьте в маринад перец, размешайте еще раз.
- Обмажьте пряной смесью кусочки курочки, положите их в пакет.
- Слейте в пакет оставшийся маринад.
- Плотно завяжите целлофан и уберите в холодильник. Под пакет не помешает поставить миску, чтобы маринад, если целлофан окажется непрочным, не испачкал весь холодильник.
Через 8 часов курицу, выдержанную в маринаде из лимона и меда, можно будет отправлять на копчение горячим способом. Для холодного копчения маринуйте курочку сутки.














